產品目錄
91看片儿免费看
液體流量計
91看片视频免费
油流量計
91看片网站下载
橢圓齒輪流量計
電磁流量計
渦街流量計
蒸汽流量計
孔板流量計
旋進旋渦流量計
熱式氣體質量流量計
轉子流量計
浮子流量計
靶式流量計
氣體流量計
超聲波流量計
磁翻板液位計
浮子液位計
浮球液位計
玻璃管液位計
雷達液位計
超聲波液位計
投入式液位計
壓力變送器
差壓變送器
液位變送器
溫度變送器
熱電偶
熱電阻
雙金屬溫度計
推薦產品
聯係91看片下载免费观看
- 金湖91看片下载免费观看儀表有限公司
- 聯係電話:15195518515
- 在線客服:1464856260
- 電話:0517-86801009
- 傳真號碼:0517-86801007
- 郵箱:1464856260@qq.com
- 網址:http://www.zhongtaijixie.net
- 地址:江蘇省金湖縣理士大道61號
液體流量計安裝要求
發布時間:2021-02-25 05:47:30 點擊次數:2106次
電磁流量計儀表安裝
1.1 安裝須知
流量計的設計、試驗和供電均有安全規定,用戶必須嚴格遵守本說明書的有關條款確保流量計的安全操作及運行。保證電磁流量計測量精度的必要條件如下:
1.被測液體介質必須具有導電性。
2.被測液體介質必須充滿管道。
3.被測液體介質必須均勻,以避免電導率的不均勻性(會產生嚴重幹擾),如需動態加入化學物質,應在儀表下遊處注入。
4.電磁流量計係統必須良好接地。
5.流量計入口直管段至少 5 倍 DN (測量管道內徑),出口直管段至少 2 倍 DN。
6.在流量計附近,避免強電磁場幹擾,避免安裝在大型電機或變壓器等設備附近。
1.2 安全措施
為保障人身和設備的安全,須遵守以下條款:
1.在選擇位置和安裝流量計之前,必須認真閱讀完本說明書有關部分,同時要考慮流量計、相關設備和機身環境的安全要求。
2.應由具備一定儀表知識的人員進行儀表的安裝和維修。
3.正確安裝流量計傳感器及配管,保證密封安全可靠,液體壓力不得超過銘*上規定的*高工作壓力。
4.采取一定措施,防止觸電事故。
5.流量計的吊裝設備應符合安全規定。
1.3 安裝前的檢查
1.檢查法蘭、襯裏、殼體和出線套有無損傷。
2.打開盒蓋、檢查接線印刷電路板有無鬆動或損壞。
3.檢查銘*中型號編碼與訂貨編碼是否相符。
1.4 吊裝
流量計應采用正確吊裝方法進行吊裝,吊裝設備的安全載荷及防護措施應符合有關規定。禁止在轉換器箱體(一體式流量計)或接線盒(分離型流量計)處用繩拴接起吊儀表。

1.5 正確選擇安裝位置
正確地選擇安裝位置和正確安裝流量計都是非常重要的環節,若在安裝環節失誤,輕者影響測量精度,重者會影響流量計的使用壽命,甚至會損壞流量計。選擇安裝位置時應注意以下問題:
1.測量電*的軸線必須近似於水平方向(與水平線夾角一般為 10°以內)

2.測量管道內必須完全充滿液體。
3.流量計的前方*少要有 5×D(D 為流量計內徑)長度的直管段,後方*少要有 2×D(D為流量計內徑)長度的直管段。

4.流體的流動方向和流量計的箭頭方向一致。
5.管道內要有真空會損壞流量計的內襯,需特別注意。
6.在流量計附近應無強電磁場,儀表安裝場所的磁場強度應小於 400A/m(避免安裝在大型電機或變壓器等設備附近)。
7.若測量管道有振動,在流量計的兩邊應有固定的支座。
8.測量不同介質的混合液時,混合點與流量計之間的距離*少要有 30×D(D 為流量計內徑)。
9.為方便今後流量計的清洗和維護,應安裝旁通管道。

10.安裝聚四氟乙烯內襯的流量計時,連接兩法蘭的螺栓應注意均勻擰緊,否則容易壓壞聚四氟乙烯內襯,*好用力矩扳手。
11.儀表應避免強烈振動和過大的溫度變化,同時要防止腐蝕性液體的滴漏對儀表造成損害。
12.如果安裝地點易受陽光曝曬,應當增加遮蔽設施。
13.安裝傳感器時,應保證測量管與工藝管道同軸。對 50mm 及以下公稱通徑的傳感器,其軸線偏離不超過 2mm。DN65~DN150 其軸線偏離不超過 3mm,≥DN200 其軸線偏離不超過 4mm。
14.法蘭之間加裝的法蘭墊圈,應有良好的耐腐蝕性能,該墊圈不得伸入管道內部。
15.緊固儀表螺栓、螺母,其螺紋應完整無損,潤滑良好。應依據法蘭尺寸、力矩大小采用力矩扳手緊固螺栓。
16.在傳感器鄰近管道進行焊接或火焰切割時,要采用隔離措施,防止襯裏受熱,且必須確認儀表未通電運行,防止損壞儀表。
1.6 安裝方式
應安裝在水平管道較低處和垂直向上處,避免安裝在管道的*高點和垂直向下處。

應安裝在管道的上升處。

在開口排放的管道安裝,應安裝在管道較低處。若管道落差超過 5m,在傳感器的下遊安裝排氣閥且傳感器的下遊應有一定的背壓。

應在傳感器的下遊安裝控製閥和切斷閥,而不應安裝在傳感器上遊。

傳感器絕對不能安裝在泵的進口處,應安裝在泵的出口處。

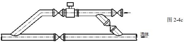
在測量井內安裝流量計的方式:1.入口 2.溢流管 3. 清洗孔 4.入口柵 5. 短管 6.流量計 7.出口 8.排放閥

1.7 接地要求
電磁流量計的接地是非常重要的,若接地不好,無法正常運行,傳感器部分應有良好的單獨接地線(銅芯截麵積為 1.6mm2),接地電阻<10Ω 。
1.接地環
若與傳感器連接的管道是絕緣性的,則需用接地環,應選擇其材質和電*的材質一樣,若被測介質是磨損性的,應選擇帶頸接地環。

2.接地方式
流量計在金屬管道上的安裝,金屬管道內壁沒有絕緣塗層。

流量計在塑料或內壁有絕緣塗料、油漆、內補等管道上安裝時,應在傳感器的兩端安裝接地環。

流量計在陰*保護管道上安裝,防護電解腐蝕的管道一般在其壁和外壁是絕緣的,安裝時注意接地環和管道上的法蘭應絕緣。

1.8 改變轉換器盒的方向
轉換器盒可以根據需要作四個不同方向的轉變。
1.一體型流量計的轉換器盒方向的改變
① 取下固定轉換器盒的 4 個六角螺絲。
② 將轉換器盒轉到理想的方向,旋轉時注意內部連接線。
③ 重新固定轉換器盒。
2.分體型流量計的接線盒方向的改變
① 取下固定接線盒的 4 個六角螺絲
② 將接線盒轉到理想的方向,旋轉時注意內部連接線
③ 重新固定接線盒。
91看片儿免费看產品安裝事項
1.1 安裝地點的選擇事項
渦輪流量計設計時已考慮到了在惡劣環境條件下工作的情況,但是為長期保持其精確度和穩定性,在選擇安裝地點時還是要注意下列事項:
環境溫度:避免安裝在環境溫度變化很大的場所。如果受到熱輻射,須有隔熱通風的措施。
環境空氣:避免把流量計安裝在含有腐蝕性氣體的環境中。如果一定要安裝在這樣的環境中,則必須提供通風措施。
機械振動和衝擊:儀表的結構很堅固,但在選擇安裝場所時應盡量避免機械振動或碰撞衝擊。如果儀表安裝在振動較大的管道上,則管道需加支撐。
限製使用無線電收發機:流量計的電氣部分是可以抗高頻電噪聲幹擾的。但是如果太靠近儀表處使用無線電收發機,那麽高頻噪聲幹擾就會影響到儀表。查看一下儀表安裝場所,儀表是否受到無線電收發機的影響(把無線電收發機從幾米遠處移向儀表,看是否受到影響)。如有的話,就把收發機遠離該場所。
其它:儀表的周圍應留有適當的空間,以便於設備安裝和定期檢修。如若必須安裝在室外,須有防雨淋和遮陽措施。
1.2 安裝前的檢查
為保證使用時的*佳性能,用戶應注意以下安裝前的檢查要求:
①安裝渦輪流量計前,管道一定要清掃。被測介質不清潔或含有雜質時,軸承、葉輪*易被卡死或損傷,嚴重損壞渦輪流量計,直接影響流量計性能。此時,應加裝過濾器,過濾網目數根據流體雜質情況而定,一般為 20~60 目。當流體中混有遊離氣體時,應加裝消氣器,特別是用於貿易計量時不能忽略,要設置空氣分離器以防發生這種情況。整個管道係統應密封良好。
②在安裝前用嘴對流量傳感器的葉輪吹氣使其快速旋轉,定性判斷其性能。若發現不轉,必須返回維修,不得自行拆裝,以免影響測量性能。
③安裝渦輪流量計時,前後管道法蘭要檢查水平,否則管道應力對流量計影響很大。
④流量傳感器可以安裝在水平或者垂直位置,流體流動方向應與殼體上的流向標誌一致。水平安裝的傳感器要求管道不應有目測可察覺的傾斜(一般在 5°以內),垂直安裝的傳感器管道垂直度偏差亦應不大於 5°。在垂直安裝時,應安裝在流向向上的管道上,以保證流體充滿管道。傳感器的管道應與上、下遊直管段同心安裝。連接密封用的墊圈不得伸入管道內腔。上下遊側應有與流量傳感器相同公稱口徑的、長度分別不少於 20DN 和 5DN 的直管段,其內壁應光滑清潔,無明顯凹痕、積垢和起皮等缺陷,否則應在上遊安裝整流器。
⑤流量傳感器是精密機械類儀表,葉輪轉速很高,流速的突然變化會損壞葉輪,所以應將調節流量的閥門安裝在傳感器的下遊方向,且緩慢調節流量,嚴防發生水擊現象。
⑥流量傳感器的儀表係數 K 對流體黏度的變化是敏感的,出廠時用水標定。當測量黏度大於 3MPa?s的流體時,流量測量範圍和儀表係數有可能發生變化。為保證測量準確度,在訂貨時必須注明介質。
⑦用戶應充分了解被測介質的腐蝕情況,嚴防傳感器受腐蝕。
⑧流量計周圍不能有強的外磁場幹擾及強烈的機械振動。傳感器應遠離外界電場、磁場,必要時采取有效屏蔽措施,以避免外來幹擾。流量計盡可能遠離泵、冷凍機等振動源。
⑨在室外安裝時,上部應有遮蓋物,以免雨水浸入和烈日暴曬而影響流量計使用壽命。
⑩進行管道耐壓試驗時,渦輪流量計不得安裝在管道上。
1.3 安裝方法
渦輪流量傳感器的安裝布置簡圖如圖 6-1。
渦輪流量計在出廠時將流量傳感器、檢測部件、流量顯示儀表等組件分開包裝,在現場安裝的步驟如下:
①檢查傳感器、檢測部件、流量顯示儀表的出廠編號(或儀表係數)是否一致,切不可將不同出廠編號(或儀表係數)的組件混合安裝,以免影響測量準確度。
②按安裝要求將傳感器組件裝在管路上。
③用螺紋連接方式將檢測部件固定在傳感器組件上。
④在傳感器殼體上安裝流量顯示儀表組件(整體安裝),或將流量顯示儀表安裝在傳感器附件的管路上。

1.4 流量計的安裝
1.在安裝渦輪流量傳感器時,必須保證滿管安裝,即管道中充滿流體。否則流量測量會受到影響,導致測量誤差。水平安裝時如圖 6-2 示意安裝,垂直時如圖 6-3 示意安裝。

2.若流量傳感器安裝位置位於管線的低點,為防止流體中雜質沉澱滯留,應在其後的管線安裝排放閥,定期排放沉澱雜質。
3.流量計一般水平安裝,要垂直安裝時需在訂貨時說明。

4.流量傳感器不應裝在水平管線的*高點,以免管線內聚集的氣體(如停流時混入空氣)停留在流量傳感器處不易排出而影響測量。正確安裝參見圖 6-4 的方式。
5.傳感器的安裝方式根據規格不同,采用螺紋或者法蘭安裝。嚴禁在流量計殼體上進行焊接。焊接時必須將流量計拆離管線。
6.安裝流量計前應將管道內的雜物、焊渣、粉塵清理幹淨。
7.在需要連續運行不能停流的場合,為了檢修時不致影響流體的正常輸送,建議在流量傳感器的安裝處,按圖 6-1 設置旁通管路和可靠的截止閥,測量時應保證旁通管路無泄漏。
8.流量計安裝時,其上、下遊應根據使用說明書的要求配置相應長度的直管段。傳感器上遊端至少有 20 倍公稱通徑長度的直管段,下遊端應不少於 5 倍公稱通徑長度的直管段。
9.為保證流量計的使用壽命,必須安裝過濾器。對於不能停流的,應並聯安裝兩套過濾器,輪流清除雜質,或選用自動清洗型過濾器。
10.安裝時注意流體方向,不得反向安裝。
11.需要安裝流量調節閥的場合,調節閥應安裝在流量計的下遊處,以減少來自上遊的流量幹擾,利於流量的調節穩定。上遊側的截止閥測量時應全開,且這些閥門都不得產生振動和向外泄漏。壓力表可裝在上下遊進出口處,溫度計應裝在下遊 5DN 處。對於可能產生逆向流的管線應加裝止回閥以防止流體反向流動。
12.流量傳感器露天安裝時,請做好遮陽和防雨淋措施。
13.流量計外殼設有接地端子,應可靠接地,但不得與強電係統地線共用。
14.現場安裝、維護必須遵守“有爆炸性氣體時勿開蓋”的警告語,並在開蓋前關掉外電源。
15.拆裝流量計時,對磁感應部分不能碰撞。
16.投入運行前先進行儀表係數的設定。仔細檢查,確保儀表接線無誤,接地良好,方可送電。
17.渦輪流量計所安裝的管道不得對其施加任何應力。
18.進行管道耐壓試驗時,渦輪流量計不得安裝在管道上。
19.流量計顯示儀表應可以轉動一定角度。
1.5 連接管道的安裝
流量計連接管道的安裝情況對流量計的測量準確度影響很大。
安裝配管的要求:
①流速分布不均和管內二次流的存在是影響渦輪流量計測量準確度的重要因素。渦輪流量計對上、下遊直管段有一定要求。在工業測量上,一般要求上遊 20D,下遊 5D 的直管長度。為消除二次流動,*好在上遊端加裝整流器。這樣可使流量計的測量準確度達到標定時的準確度等級。
②保證通過流量計的液體是單相流,即不能混有空氣或者蒸氣,如有則需加裝消氣器。對於易氣化的液體,在流量計下遊必須保證一定背壓。該背壓的大小可取*大流量下流量傳感器壓降的二倍加上*高溫度下被測液體蒸氣壓的 1.2 倍。
③管道內安裝過濾器保證流體的清潔。
④消氣器和過濾器的消氣口和排汙口要通向安全的場所。
⑤與流量計相連接的前後管道的內徑應與流量計口徑一致。管道和流量計連接處不許有凸出物伸入管道內,以免改變通道截麵和流量計進口流場分布,並要求管道中心河流量計中心一致。流量計上遊直管段長度 L 與管道內徑 D 的比值應滿足式 6-1 的要求:

式中
K—漩渦速度比,取決於流量計上遊局部阻流件的類型;
f—管道內壁摩擦係數,流動處於紊流狀態時一般可取 0.0175。
K 值與上遊直管段長度見表 6-1:

若上遊局部阻流件狀況不明確,一般推薦上遊直管段長度應不小於 20D,下遊直管段長度不小於5D。當上遊直管段不能滿足要求時,應在流量計和阻流件之間安裝流動調整器。
1.6 電氣連接
安裝顯示儀表前*先核對傳感器的輸出特性(輸出脈衝的頻率範圍、幅值、脈寬等)與顯示儀表輸入特征是否相配。按照傳感器的儀表係數設定顯示儀表的參數。核對傳感器電源和線製,以及阻抗匹配。本質安全防爆型流量傳感器還應核對安全柵型號規格。
信號傳輸線要求:
為了保證顯示儀表對渦輪傳感器輸出的脈衝信號有足夠的靈敏度,就要提高信噪比。為此,傳感器的前置放大器如裝在現場,還要防電磁幹擾,即電磁感應、靜電及電容耦合。如在室外,還應采取防雨淋等措施。在配置信號傳輸線時,必須注意以下幾點:
①限製信號線的*大長度。信號線的*大長度為 L=D×v,其中,V 為在*小流量時傳感線圈的輸出電壓有效值,mV;d 為係數,m/mV,其值可取: V<1000mV 時,d=1.0;1000mV<V<5000mV 時,d=1.5;V>5000mV 時,d=2.0。
②傳輸電纜通常用帶有防護套和屏蔽功能的雙芯或三芯通信電纜,有效截麵積(1.25~2)mm2。要求傳輸電纜在顯示儀表端屏蔽接地。盡可能用一根完整的電纜(即中間不接續)。電纜*好裝入金屬管裏,以避免機械損傷。該金屬管如同時裝入另一電纜,則該電纜輸送*大功率不能大於本儀表流量信號電纜輸出*小功率的 10 倍。
傳輸電纜的路徑不應與動力電源線平行,也不要敷設在動力電源線集中的區域,以避免電磁幹擾。
注意:請務必在通電前完成所有接線並檢查接線是否正確,切勿接反,否則容易損壞放大器板。
1.7 電氣部件模擬運行
電氣部分連接完成後,取下傳感器的檢測頭並做好檢測頭安裝標記,以便複原。用鐵片靠在檢測頭下方快速移動,顯示儀表的累積計數顯示應連續地增加,可認為電氣部分完好。
橢圓齒輪流量計的安裝使用
1.1 流量計前應安裝配套過濾器,且配套過濾器的出口緊接流量計的入口,兩者本體上箭頭指向 與液體流向一致。
1.2 當被測液體含有氣體時,流量計前應安裝消氣過濾器。
1.3 不論管路是垂直還是水平安裝,但流量計中的橢圓齒輪應安裝成水平位置(即表度盤應與地 麵垂直)。
1.4 流量計在正確安裝情況下,如果不易看清讀數,可把計數器轉向 180 度或 90 度均可。
1.5 新流量計在安裝前先用竹棍從出口處把橢圓齒輪推幾次,如發現不動,可以用柴油浸泡(避免 出廠校驗後內存沉澱物)。
1.6 流量控製閥應安裝在流量計進口處,開閉閥門裝在出口處,使用開閉閥時緩慢啟動,不要突 然開啟以防“水擊”現象。
1.7 在新管道上安裝流量計前,管道需要衝洗,衝洗時采用直管段(替代流量計位置)防止焊渣, 雜物等進入流量計。
1.8 嚴禁用水校驗鑄鐵、鑄鋼材質的流量計。
1.9 流量計在使用時流量大小不得超過技術要求.流量計工作在*大流量 50—80%為優。
2.0 被測液體如果具有化學腐蝕性,須選用不鏽鋼材質的流量計。
金屬管浮子流量計使用與維修
1. 安裝流量計之前一定要將管道內的焊渣、雜物清理幹淨。
2. 流量計必須垂直於地麵安裝其傾斜度不得超過 2°。否則會影響測量準確度。
3. 為了確保流量計的測量準確性,應在流量計的進口端增加不少於 10DN 的直管段,出口端不少於 5DN 的直管段,測量時調節控製閥必須安裝在流量計的下遊。
4. 若被測介質為大的脈動流或兩相流,應在流量計的上遊安裝緩衝器來消除或減弱脈動,保證介質的流動是單相穩定的,同時,建議流量計*好使用阻尼型的。
5. 若被測介質較髒或含有導磁顆粒時,應在流量計的上遊安裝過濾器或磁過濾器。
6. 流量計的安裝應能適當支撐管道的振動或減少流量計的軸向負荷,否則應增加固定流量計的支撐。
7. 為了便於流量計的保養維修,磁過濾器的清洗以及用戶管路的定期維護保養,建議使用如圖所示的旁路管道。
8. 當流量計用於氣體測量時,應保證管道內的工作壓力不少於 5 倍流量計的壓力損失,使流量計能夠穩定正常動作。
9. 對電遠傳及帶報警限位開關的流量計在使用前,打開儀表蓋,按接線圖示正確接線。對於報警型的旋鬆限位開關處的螺絲,用戶根據需要設定限位報警位置,並旋緊螺絲,複原後使用。
10. 按儀表指示器中的警示*,取出運輸中防止浮子振動的阻動件,複原後再使用儀表。
11. 若開啟流量計時,由於管道內沒有壓力或係統還未達到儀表正常使用的工作壓力,必須緩慢開啟控製閥,直到係統正常,儀表方可使用,否則容易造成指針跳動或浮子的突然撞擊而損壞的現象。
12. 用戶使用時,若被測流體的密度與水不同時,或被測氣體的參數和工作狀態與製造廠家規定不同時應對流量計示值讀數進行換算,換算方法見附錄。
超聲波流量計安裝步驟(分為三步驟)
*一步驟:快速輸入核對所安裝管道參數

*二步驟:接線(接主機線和探頭線)
一.主機部分接線如圖所示:

(1)電源接線
電源接線按照接線圖標識:有 AC 220V 和 DC 24V 兩種電源,任選一種
(2)傳感器接線
下遊探頭接:從左到右 1 2 3 接線端子,GND DN- DN+,屏蔽線通常可不接,通常默認隻需要接 DN- DN+ (從左到右 2 號端子 3 號端子)
上遊探頭接:從左到右 4 5 6 接線端子,GND UP- UP+,屏蔽線通常可不接,通常默認隻需要接 UP- UP+ (從左到右 5 號端子 6 號端子)
(3)4-20mA 電流輸出接線
4-20mA 接:AO 和 24V-兩個端子,AO 端子接 4-20mA+ 24V-端子接 4-20mA-
(4)485 通訊接線
485 通訊接:485 OUT A 485 OUTB
(5)熱量表接線
熱量功能供水接:TX1 T1 GND;熱量功能回水接:TX2 T2 GND;(供水回水 GND 共接)
(6)繼電器接線
RELAY+ RELAY-
二.探頭部分接線如圖所示:

屏蔽線通常可不接,通常默認隻需要接 + - 兩個端子
*三步驟:選擇安裝位置,打磨管道,安裝探頭
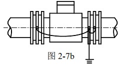
安裝傳感器,*先選擇欲安裝位置(安裝位置要滿管穩流,離泵和彎頭要遠!),選定後, 使用角磨機或者粗砂紙將欲安裝傳感器的區域拋光,除掉鏽跡油漆或防鏽層,露出管道金屬 本質,然後在傳感器上塗抹足夠的耦合劑,*後把傳感器緊貼在管壁上並捆綁好,夾具(不 鏽鋼帶)應固定好,使之受力均勻;注意傳感器和管壁之間不能有空氣泡和沙礫等髒東西。
安裝距離
外夾式傳感器安裝間距以兩傳感器的*內邊緣距離減去 35mm 為準(參見安裝距離定義 示意圖),間距的計算方法是*先在菜單中輸入所需的參數以後,查看窗口 M25 所顯示的數 字,並按此數據減去 35mm(Z 法安裝)安裝傳感器。

安裝方式
外夾式傳感器的安裝方式共有三種。分別是 Z 法、N 法和 W 法。(默認為 Z 法安裝!) Z 法
Z 法是*常用的安裝方法,特點是超聲波在管道中直接傳輸,無反射(稱為單聲程), 信號衰減損耗*小。Z 法可測管徑範圍為 15mm-6000mm。現場實際安裝時,都選用 Z 法(這 樣測得信號*大)
注意:
(1)此圖為頂視圖,兩個探頭在現場安裝時是管道兩側,不是上下!!!
(2)參數設置正確後,實際探頭安裝距離為表裏 M25 表示的安裝距離減去 35mm!!!

上一篇:液體流量計的分類與介紹下一篇:液體流量計的工作原理

