產品目錄
91看片儿免费看
液體流量計
91看片视频免费
油流量計
91看片网站下载
橢圓齒輪流量計
電磁流量計
渦街流量計
蒸汽流量計
孔板流量計
旋進旋渦流量計
熱式氣體質量流量計
轉子流量計
浮子流量計
靶式流量計
氣體流量計
超聲波流量計
磁翻板液位計
浮子液位計
浮球液位計
玻璃管液位計
雷達液位計
超聲波液位計
投入式液位計
壓力變送器
差壓變送器
液位變送器
溫度變送器
熱電偶
熱電阻
雙金屬溫度計
推薦產品
聯係91看片下载免费观看
- 金湖91看片下载免费观看儀表有限公司
- 聯係電話:15195518515
- 在線客服:1464856260
- 電話:0517-86801009
- 傳真號碼:0517-86801007
- 郵箱:1464856260@qq.com
- 網址:http://www.zhongtaijixie.net
- 地址:江蘇省金湖縣理士大道61號
浮球液位計常見故障及解決方法
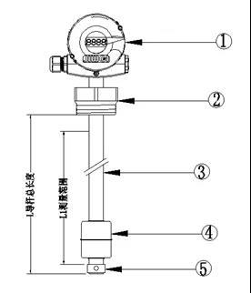
浮球液位計主要由表頭、過程連接、導杆、浮球和鎖緊環(如下圖)五部分組成。其通過連接法蘭安裝於容器頂上。

根據阿基米德原理,當容器的液位變化時,浮球也隨之上下浮動,又由於浮球具有磁性,浮球液位計的幹簧管受磁性吸合,從而把對應的液位轉換為電信號,再通過表頭顯示出液位的實際高低。
由於浮球液位計具有結構簡單、長度能夠根據工況要求按需定製,頗受用戶歡迎,在食品加工、廢水處理以及石油化工等行業的液位測量方麵有著廣泛應用。
盡管如此,實際應用中如果操作使用不當,浮球液位計也會出現一些故障。為幫助大家更好地使用浮球液位計,本文擬就浮球液位計的故障及處理介紹如下。
一般來講,浮球液位計的故障比較常見的有指示異常、浮球被卡和受磁場幹擾導致儀表出現誤動作三種。
故障一 指示不正常
浮球液位計指示不正常,是浮球液位計非常常見的故障。通常有以下幾種表現:
現象1、常壓車間浮球液位計出現了指示*大的現象。
故障處理:通過檢查發現浮球的配重在*低點,說明儀表的液麵*高。現場玻璃板和儀表指示對不上,通常是儀表浮球脫落導致液麵*高的假液位現象。此時,可通過停車檢修更換浮球的辦法進行處理。
現象2、芳烴罐區浮球液位計不隨容器內的液位變化,一直指示*大。
故障處理:此時應檢查浮球是否脫落,如脫落重新安裝即可。
現象3、浮球液位計的指示偏低。
故障處理:出現上述故障現象,可能是浮球脫落、浮球連杆斷裂、浮球轉換機構損壞、浮球指針或表頭損壞等原因導致。
如果按壓儀表轉換機構、浮球連杆轉動靈活,指針和表頭無障礙,這時應更換浮球連杆,如果仍不能排除故障,則應結合上述原因進行逐一排除。
現象4、浮球液位計突然無指示。
故障處理:如果測量回路電壓無信號,一次元件電源*性沒接反,電流轉換部分無電流輸出,則說明儀表表頭損壞,應對浮球液位計儀表的表頭進行更換。
故障二 受到磁場幹擾
如果浮球液位計出現誤動作現象,根據浮球液位計的工作原理分析,多半是由於受到磁場幹擾所致。因為浮球液位計的浮球以及導杆均含有磁性物體,若受到應用環境中其他磁場幹擾,會影響到儀表的正常工作,甚至導致儀表部件消磁情況的出現。
故障處理:請及時查看儀表及容器周邊是否存在強烈磁場,並且確認被測液體中沒有帶磁性的雜質,如果有磁場存在,請及時予以清除,以避免浮球液位計因受到磁場幹擾而出現異常。
故障三 浮球被卡住
浮球被卡住,通常是因為被測液體中含有雜質和汙垢,時間一長,導杆便會漸漸結垢。若浮球被卡主不動,則會導致儀表無信號輸出。
故障處理:如果出現浮球被卡住的故障,儀表人員應及時查看浮球的狀態,檢查導杆表麵是否有水垢凝結,並盡快清理幹淨。尤其對於含有雜質的被測液體,儀表人員應對儀表導杆進行定期清理。
實踐中,由於現場工況複雜、操作不當等原因,都可能導致浮球液位計出現一些其他故障,進而影響生產的正常進行。這時請及時檢查電壓、電流、負載是否異常,並認真閱讀產品使用說明書,按照上麵的要求進行規範操作。如故障仍不能排除,可向廠家技術人員谘詢,如仍不能解決,應及時發回廠家進行維修處理。
其實,從一開始就認真閱讀產品說明書,規範操作和維護,並養成定期檢查和保養的習慣,功夫下在平時,就能大幅降低故障率的發生。

