91看片下载免费观看,91看片儿免费看,91看片网站下载,91看片视频免费

歡迎光臨金湖91看片下载免费观看儀表有限公司!本公司主營:渦輪流量計,電磁流量計,渦街流量計,孔板流量計,金屬管浮子流量計,磁翻板液位計等儀器儀表,聯係熱線:15195518515

金湖91看片下载免费观看儀表有限公司LOGO

金湖91看片下载免费观看儀表有限公司

品質保證,服務周到,儀器儀表供應商

--24小時服務熱線--15195518515
當前位置:*頁>>產品中心>>電磁流量計>>汙水電磁流量計
汙水電磁流量計

汙水電磁流量計

  • 品*:JKM/91看片下载免费观看儀表
  • 型號:JKM-LDE
  • 測量範圍:0.0283~205258m3/h
  • 精度等級:0.5 1 1.5
  • 公稱通徑:DN10~DN2200
  • 適用介質:導電液體
  • 工作壓力:0.6~6.3MPa
  • 工作溫度:-20~+200℃
  • 供電方式:220V 24V 鋰電池
  • 訂貨號:ZRA781996VKH

汙水電磁流量計產品種類及適用範圍

電磁流量計由電磁流量傳感器和電磁流量轉換器兩大部分組成,主要分為兩大類:一體型和分離型。

電磁流量計是基於法拉*電磁感應定律原理的流量儀表,用於測量封閉管道中導電液體和漿液的體積流量。它廣泛應用於石油化工、鋼鐵冶金、給水排水、水利灌溉、水處理、環保汙水、造紙、醫藥、食品等工農業部門的生產過程的流量測量和控製。

汙水電磁流量計傳感器分類圖


汙水電磁流量計產品特點

1.獨立性強,測量不受液體密度、粘度、溫度壓力和電導率等物理量變化的影響。

2.結構簡單,故障率低,測量管內無活動及阻流部件,不堵塞、無壓損。

3.適用範圍廣,量程比寬,適合導電液體,含有纖維、固體顆粒和懸浮物的液體。

4.安裝要求低,直管段要求低(前 5D 後 2D)。 

5.工作穩定可靠,采用低頻方波勵磁,功耗小,零點穩定。

6.輸出信號多樣性,可輸出與流速成正比例的線性模擬信號、數字信號及報警信號。

汙水電磁流量計產品圖


汙水電磁流量計工作原理

流量計測量原理是基於法拉*電磁感應規律。流量計的測量管是一內襯絕緣材料的非導磁合金短管。兩隻電*沿管徑方向穿通管壁固定在測量管上。其電*頭於襯裏內表麵基本齊平。勵磁線圈由雙向方波脈衝勵磁時,將在與測量管軸線垂直的方向上產生一磁通量密度為 B 的工作磁場。此時,如果具有一定電導率的流體流經測量管,將切割磁力線感應出電動勢 E。電動勢 E 正比於磁通量密度 B,測量管內徑 d 與平均流速 V的乘積、電動勢 E(流量信號)由電*檢出並通過電纜送至轉換器。轉換器將流量信號放大處理後,可顯示流體流量,並能輸出脈衝,模擬電流信號,用於流量的測量和控製。

汙水電磁流量計原理計算公式

式中:

E---------為電*間的信號電壓(v)

B---------磁通密度(T)

d---------測量管內徑(m)

V--------平均流速(m/s)

K---------常數

由於 K 為常數,勵磁電流是恒流的,故 B 也是常數,則由(1-1)式可知,體積流量 Q 與信號電壓 E 成正比,即流速感應的信號電壓 E 與體積流量 Q 成線性關係。因此,隻要測量出 E 就可確定流量 Q,這就是電磁流量計的基本工作原理。

由(1-1)式可知,被測流體介質的溫度、密度、壓力、導電率、液固兩相流體介質的液固成分比等參數不會影響測量結果。至於流動狀態隻要符合軸對稱流動(如層流或紊流)就不會影響測量結果的。因此說電磁流量計是一種真正的體積流量計。

汙水電磁流量計工作原理圖


汙水電磁流量計執行標準及技術參數

1 產品執行標準

產品性能符合電磁流量計行業標準 JB/T9248-2008 及 JJG1033-2007 要求。

2 主要技術指標

汙水電磁流量計技術指標對照表


汙水電磁流量計儀表選型

儀表的選型是儀表應用中非常重要的工作,據有關資料統計,儀表在實際應用中有 2/3 的故障是儀表的錯誤選型和錯誤安裝造成的,請特別注意。具體注意事項如下:

1.被測流體名稱和其化學性能。 

2.*大流量、*小流量和常用流量。推薦:常用流量應選擇在 1~3m/s 流速段內,如果不符,請用戶調整所選儀表的口徑規格。

3.*高工作壓力。

4.*高工作溫度、*低工作溫度。

5.被測流體必須具備一定的導電性,導電率≥5μs/cm。

6.*大流量和*小流量必須符合表 2-1 的數據。

7.實際*高工作壓力必須小於流量計的額定工作壓力(見傳感器銘*)。

8.*高工作溫度和*低工作溫度必須符合流量計規定的溫度要求(見傳感器銘*)。

9.確定是否有負壓情況存在。

10.電*和襯裏材料的選擇應滿足流體介質的化學性能。

汙水電磁流量計規格型號選型表


汙水電磁流量計公稱通徑與流量範圍

汙水電磁流量計口徑流量對照表


汙水電磁流量計電*材料的選擇

汙水電磁流量計電*材料對照表


汙水電磁流量計襯裏材料的選擇

汙水電磁流量計襯裏材料對照表


汙水電磁流量計外形和安裝尺寸

1 轉換器的結構和外形尺寸(詳見轉換器部分)

2 電磁流量計(含傳感器)外形及連接尺寸

汙水電磁流量計外形尺寸圖一

汙水電磁流量計外形尺寸圖二


常用規格智能電磁流量計外形尺寸和法蘭連接尺寸

汙水電磁流量計尺寸對照表一

汙水電磁流量計尺寸對照表二


汙水電磁流量計儀表安裝

1 安裝須知

流量計的設計、試驗和供電均有安全規定,用戶必須嚴格遵守本說明書的有關條款確保流量計的安全操作及運行。保證電磁流量計測量精度的必要條件如下:

1.被測液體介質必須具有導電性。

2.被測液體介質必須充滿管道。

3.被測液體介質必須均勻,以避免電導率的不均勻性(會產生嚴重幹擾),如需動態加入化學物質,應在儀表下遊處注入。

4.電磁流量計係統必須良好接地。

5.流量計入口直管段至少 5 倍 DN (測量管道內徑),出口直管段至少 2 倍 DN。

6.在流量計附近,避免強電磁場幹擾,避免安裝在大型電機或變壓器等設備附近。

汙水電磁流量計現場安裝使用圖


2 正確選擇安裝位置

正確地選擇安裝位置和正確安裝流量計都是非常重要的環節,若在安裝環節失誤,輕者影響測量精度,重者會影響流量計的使用壽命,甚至會損壞流量計。選擇安裝位置時應注意以下問題:

1.測量電*的軸線必須近似於水平方向(與水平線夾角一般為 10°以內)

汙水電磁流量計測量電*安裝方向圖

2.測量管道內必須完全充滿液體。

3.流量計的前方*少要有 5×D(D 為流量計內徑)長度的直管段,後方*少要有 2×D(D為流量計內徑)長度的直管段。

汙水電磁流量計直管段安裝位置圖

4.流體的流動方向和流量計的箭頭方向一致。

5.管道內要有真空會損壞流量計的內襯,需特別注意。

6.在流量計附近應無強電磁場,儀表安裝場所的磁場強度應小於 400A/m(避免安裝在大型電機或變壓器等設備附近)。

7.若測量管道有振動,在流量計的兩邊應有固定的支座。

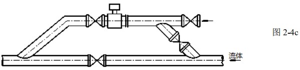
8.測量不同介質的混合液時,混合點與流量計之間的距離*少要有 30×D(D 為流量計內徑)。

9.為方便今後流量計的清洗和維護,應安裝旁通管道。

汙水電磁流量計旁通管道安裝圖

10.安裝聚四氟乙烯內襯的流量計時,連接兩法蘭的螺栓應注意均勻擰緊,否則容易壓壞聚四氟乙烯內襯,*好用力矩扳手。

11.儀表應避免強烈振動和過大的溫度變化,同時要防止腐蝕性液體的滴漏對儀表造成損害。

12.如果安裝地點易受陽光曝曬,應當增加遮蔽設施。

13.安裝傳感器時,應保證測量管與工藝管道同軸。對 50mm 及以下公稱通徑的傳感器,其軸線偏離不超過 2mm。DN65~DN150 其軸線偏離不超過 3mm,≥DN200 其軸線偏離不超過 4mm。

14.法蘭之間加裝的法蘭墊圈,應有良好的耐腐蝕性能,該墊圈不得伸入管道內部。

15.緊固儀表螺栓、螺母,其螺紋應完整無損,潤滑良好。應依據法蘭尺寸、力矩大小采用力矩扳手緊固螺栓。

16.在傳感器鄰近管道進行焊接或火焰切割時,要采用隔離措施,防止襯裏受熱,且必須確認儀表未通電運行,防止損壞儀表。


3 安裝方式

應安裝在水平管道較低處和垂直向上處,避免安裝在管道的*高點和垂直向下處。

應安裝在管道的上升處。

在開口排放的管道安裝,應安裝在管道較低處。若管道落差超過 5m,在傳感器的下遊安裝排氣閥且傳感器的下遊應有一定的背壓。

應在傳感器的下遊安裝控製閥和切斷閥,而不應安裝在傳感器上遊。

傳感器絕對不能安裝在泵的進口處,應安裝在泵的出口處。

汙水電磁流量計正確安裝位置圖

汙水電磁流量計安裝注意事項

上一篇:電磁式流量計下一篇:防爆型電磁流量計

相關資訊

網站地圖