產品目錄
91看片儿免费看
液體流量計
91看片视频免费
油流量計
91看片网站下载
橢圓齒輪流量計
電磁流量計
渦街流量計
蒸汽流量計
孔板流量計
旋進旋渦流量計
熱式氣體質量流量計
轉子流量計
浮子流量計
靶式流量計
氣體流量計
超聲波流量計
磁翻板液位計
浮子液位計
浮球液位計
玻璃管液位計
雷達液位計
超聲波液位計
投入式液位計
壓力變送器
差壓變送器
液位變送器
溫度變送器
熱電偶
熱電阻
雙金屬溫度計
推薦產品
聯係91看片下载免费观看
- 金湖91看片下载免费观看儀表有限公司
- 聯係電話:15195518515
- 在線客服:1464856260
- 電話:0517-86801009
- 傳真號碼:0517-86801007
- 郵箱:1464856260@qq.com
- 網址:http://www.zhongtaijixie.net
- 地址:江蘇省金湖縣理士大道61號
根據渦輪流量計的原理和誤差理論提高測量精度
發布時間:2020-08-30 22:58:49 點擊次數:2641次
提要:根據渦輪流量計的工作原理和誤差理論的分析與合成原則, 從理論和實際應用上,分析了產生誤差的原因和誤差量級, 闡述了提高渦輪流量計測量水泵流量精度的方法。
水泵試驗中, 精度是測試工作的重點, 而其中流量的測量誤差往往在效率試驗中占總誤差的70%以上。因此, 減小流量測量誤差是提高水泵測試精度的重要環節。
目前, 水泵流量的測量方法很多, 其中渦輪流量計使用方便, 價格適宜, 使用甚廣。利用其優點, 采用測頻計數——測周計脈衝法, 可有效地控製誤差, 提高測試精度。
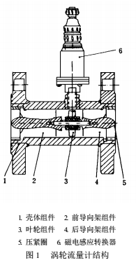
1、渦輪流量計的工作原理
智能型渦輪流量計的結構如圖1所示。它是一種速度式流量儀表, 以動量矩的守恒原理為基礎。當流體衝擊葉輪葉片, 使葉輪旋轉。旋轉速度隨流量的變化而變化, 同時導磁性的葉輪周期性的改變磁電係統的磁阻值, 使通過線圈的磁通量發生周期性的變化, 因而在線圈內感應出脈衝電信號, 經放大後計數和顯示。
部分渦輪流量計的規格和精度如表1所示。

在測量範圍內, 葉輪的轉速可看成與流量成正比, 而信號脈衝數與葉輪的轉速成正比, 所以當測得葉輪轉動頻率f或某一時間內的脈衝總數m後, 分別除以渦輪流量計常數ζ(次/L),便可求得流量Q (L/s),即

由此可見,用渦輪流量計測量水泵流量,需測量頻率f。從表1中可見,渦輪流量計的頻率(精度範圍內)在20Hz到500Hz之間。

2、誤差分析
根據誤差理論中誤差分析與合成原則,使用渦輪流量計測量水泵流量時, 其係統誤差用方和根表示為

式中δQ——用渦輪流量計測量流量時的係統誤差;
δw——渦輪流量計精度, 選用一定的流量計,其精度也就基本確定;
δf——渦輪流量計輸出信號頻率的測量精度, 由頻率測量方法決定。
因此, 提高渦輪流量計測量流量的精度, 必須降低δf到微小誤差的量級上, 使之可以忽略不計。一般頻率的測量精度由兩部分組成,即
δf=δ±1個字
式中 δ由頻率測量通道的時鍾電路和輸入放大電路決定, 通常為0.1%;±1個字是由於檢測周期與計數脈衝不同步,使計數器多計或少計一個數所造成的誤差。
頻率測量通常是在標準時間內,用計數器累計渦輪流量計輸出的脈衝數來計算的, 顯然, 標準時間和信號周期是同步的, 即標準時間不可能正好是信號脈衝的整數倍。其±1個字的誤差在標準時間為1s時,就是±1Hz,相對誤差為±1f/1×100%。因此,這種方法在小流量(低頻)時,由於計數值較少,誤差是相當大的。如f=10Hz時,相對誤差為10%,將標準時間延長為10s,其相對誤差仍有1%,即使在大流量時,如f=500Hz時,其相對精度仍有0.2%。因此,計數測頻法在水泵整個流量範圍內,誤差不能控製在微小誤差數量級上,因而不可忽略。
3、提高精度的方法
精確測量頻率的關鍵是使檢測周期與信號周期同步。因此,91看片下载免费观看設想用信號周期作為檢測周期, 將測頻計數和測周計脈衝相結合, 這樣, 既可在小流量時可靠地測頻, 在大流量時亦具有較高的分辨率。
這種方法的硬件電路如圖2所示,包括單片機8031,可編程定時器8253以及兩個D觸發器。其中t1由一個8253定時器0來定時,其值是不變的。檢測時間t在t1結束後,由渦輪流量計輸出信號的*一個脈衝來決定。即t=t1+△t,m1和m2是檢測時間t內渦輪流量計發出的脈衝數和時鍾脈衝的計數值,T0是一個脈衝的周期,分別用8253定時器1和定時器2進行計數,且t=m2T0,則頻率f 為


這種方法的外部中斷服務程序框圖如圖3所示。

采用這種方法隻存在時鍾脈衝的計數誤差。由於晶振的時鍾頻率f0很高,在一個信號周期內,±1個字的誤差為f/f0,若f0=1MHz,在小流量(f=10Hz)時,相對誤差為0.001%;大流量(f=500Hz)時,其相對誤差為0.05%。因此,頻率測量誤差δf相對δw和δ為微小誤差,可以忽略其影響。
4、結論
采用測頻計數——測周計脈衝法與目前測頻計數法相比,前者遠遠小於後者的測量誤差,采用這種方法不僅測量精度有保證,且可靠易於實現,可從根本上解決渦輪流量計對水泵流量的測量精度及減小誤差問題。表2是改進前後的測量誤差實測對比。

經過實際應用證明,這種方法在精度和誤差方麵完全符合理論研究與設計結果,是提高渦輪流量計對水泵流量測量精度較好的方法。
相關資訊
- 91看片网站下载安裝直管段要求
- 91看片网站下载的結構與工作原理
- 91看片网站下载的產品特點和適用範圍
- 91看片网站下载選型指南與外形尺寸
- 渦輪流量計的常見故障及排除
- 渦輪流量表怎麽調節
- 渦輪流量計安裝直管段要求
- 渦輪流量計的適用場合與量程範圍
- 渦輪流量計由什麽組成
- 渦輪流量計的工作原理
- 壓力對渦輪流量計精度的影響
- 91看片儿免费看使用常見問題
- 91看片儿免费看的使用場合
- 91看片儿免费看怎麽接電
- 渦輪流量計的使用範圍
- 渦輪流量計安裝條件與環境要求
- 渦輪流量計安裝在什麽位置
- 91看片儿免费看設置方法
- 91看片网站下载使用環境
- 91看片网站下载使用注意事項
- 91看片网站下载怎麽清洗
- 91看片网站下载適用範圍
- 91看片网站下载為什麽要加油
- 91看片网站下载波動大解決辦法
- 91看片网站下载安裝距離要求
- 91看片网站下载安裝注意事項
- 91看片网站下载應用範圍
- 91看片网站下载常見故障有哪些
- 提高91看片网站下载精度的方法
- 91看片网站下载精度等級

